Atendimento

VÁLVULA DE RETENÇÃO TIPO WAFER

Classe – Pressão 150 Libras

  • Montagem entre flanges em aço ASTM A-216 WCB – Classe 150 LBS
  • Instalação horizontal / vertical;
  • Corpo em FºFº fundido / Inox AISI 304;
  • Disco em Aço Inox AISI 304;
  • Vedação EPDM / metal-metal;
  • Eixo em Aço Inox AISI 410 e mola em Aço Inox AISI 302;
  • Construção conforme API-594
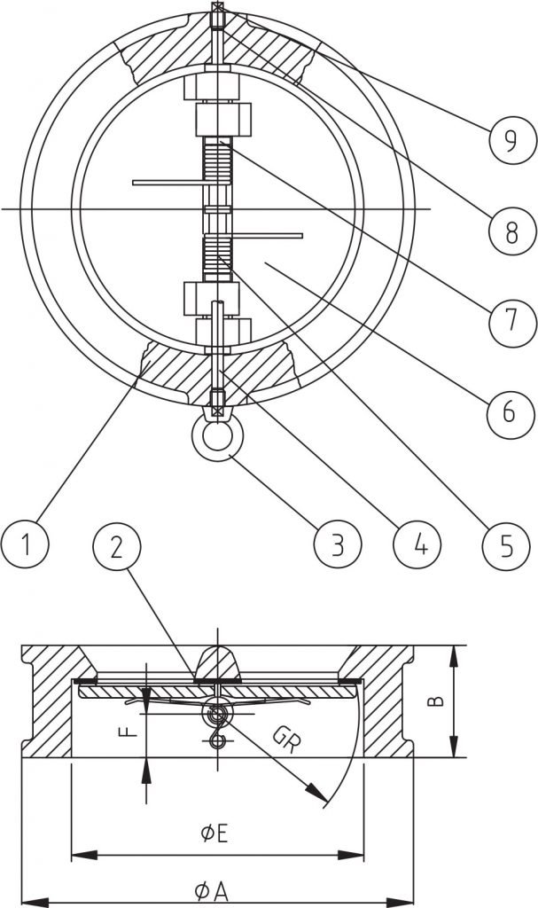
POSNOMEMATERIAL
1corpoASTM A-126
2vedaçãoEPDM
3olhal de suspensãoaço carbono
4eixoSS410
5molaSS410
6duo flapCF8
7buchaPTFE
8packingEPDM
9bujãoaço carbono
DN 2” 2.1/2” 3” 4” 5” 6” 8” 10” 12” 14” 16”
A 102 121 133 171 193 219 276 336 406 445 511
B 60 67 73 73 83 98 127 146 181 184 190
E 65 78 94 117 145 171 222 276 328 375 416
F 25 29 28 27 38 43 66 71 102 89 92
GR 29,2 36,1 43,4 54,7 67,7 78,6 104,4 128,1 156,7 179,9 194,5